SAB 87
Техническое описание винтового компрессора SAB 87
Области применения винтового компрессора
Во избежание неправильного применения компрессора, которое может привести к несчастным случаям или повреждению оборудования, применение компрессора допускается только в указанных ниже целях:
- В качестве холодильного компрессора с числом оборотов в минуту, определенным спецификацией и рабочим диапазоном, означенным в настоящей инструкции
Для работы со следующими хладагентами: R717 - R22 Во взрывоопасных средах при условии, что компрессор оснащен сертифицированным оборудованием взрывозащиты.
ВНИМАНИЕ! Компрессор запрещено использовать:
- Для откачки из холодильной установки воздуха и влаги,
- Для создания воздушного давления в холодильной установке с целью опрессовочных испытаний.
- В качестве воздушного компрессора.
Характеристики производительности
Нижеследующие диаграммы показывают производительность SAB 81-85-87 и 89 с .
Для компрессоров, включая всасывающий фильтр. Без перегрева/переохлаждения. Темп. на выходе дифф. экономайзера = 0°
| R717 | R404A |
| R22 | R410A |
| R507 | R134A |
Винтовой компрессор с маслоотделителем
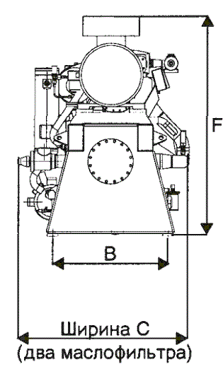
Габаритные размеры блока
Винтовой компрессорный блок предназначен для работы с высоким давлением и в качестве бустера. Поскольку он сконструирован как готовый к работе блок, его остается просто подключить к системе. В зависимости от рабочего диапазона блока компрессор можно установить на малую или большую станину с соответственно малым или большим маслоотделителем. Обратите внимание на разницу в габаритах, весе и т. п.
Конструктивное решение
Ниже представлено краткое описание компонентов, входящих в состав блока. Более подробное описание дано в документации на отдельные компоненты.
Компрессор (CS), электродвигатель (М) и маслоотделитель (OS) установлены на станине. Станина служит также основанием для размещения других компонентов блока.
Крутящий момент от электродвигателя передается на компрессор через гибкое дисковое муфтовое соединение.
Компрессор
Компрессор соединен со стороной низкого давления посредством стопорного клапана.
Стопорный клапан не дает компрессору вращаться в обратном направлении после остановки. Чтобы предотвратить попадание грязи со стороны низкого давления, компрессор оборудован всасывающим фильтром.
Нагнетаемый газ подается через нагнетательный трубопровод в маслоотделитель. Газ на стороне нагнетания компрессора смешивается с относительно большим количеством масла, впрыскиваемого в компрессор для смазывания, охлаждения и герметизации. Это масло должно быть отделено прежде, чем нагнетаемый газ будет подан в холодильную установку.
Масляная система
Масло отделяется от нагнетаемого газа в маслоотделителе в два этапа. Основная часть масла отделяется в туманоуловителях, расположенных в середине маслоотделителя. На фильтре тонкой очистки дополнительно отделяется еще часть масла, так что лишь очень незначительная его часть поступает вместе с нагнетаемым газом в холодильную установку.
Масло собирается в ресивере, из которого оно возвращается через обратный клапан, маслоохладитель и маслофильтр в компрессор. Внутри компрессора масло движется с помощью маслонасоса, а также благодаря разности нагнетательного давления компрессора (давлению в маслоотделителе) и низкого давления в местах смазки
компрессора. Маслонасос приводится в действие валом ведомого ротора и имеет производительность 30 л/мин. при 3000 об ./мин. и 36 л/мин. при 3600 об./мин.
Масло для впрыскивания на ротор берется прямо из маслоотделителя через маслофильтр. Количество масла определяется встроенными форсунками. Коренные подшипники на стороне разрежения и уплотнения вала также смазываются маслом, поступающим из маслоотделителя.
Маслонасос также обеспечивает маслом коренные подшипники на стороне нагнетания и систему регулировки производительности.
Основная часть масла впрыскивается на роторы при промежуточном давлении Pm1. Это масло смешивается с газом, герметизирует роторы, смазывает их соприкасающиеся поверхности, охлаждает рабочую среду и затем следует в маслоотделитель, где отделяется от газа.
Масло, используемое для регулировки производительности, отводится назад, в ту часть компрессора, где давление соответствует давлению всасывания.
Масло, используемое для регулировки встроенным Vi золотником, отводится назад, в ту часть компрессора, где давление соответствует давлению всасывания Ps.
Масло, использующееся для системы балансировки роторов и смазки подшипников и уплотнения вала, отводится назад, в ту часть компрессора, где давление соответствует промежуточному давлению Рm2.
Инжекторные каналы Рm1 и Рm2 расположены таким образом, что масло может подаваться в герметизированное пространство между роторами, тем самым предотвращая потерю напора хладагента.
При низком давлении стопорный клапан обеспечивает подачу избыточного масла из маслонасоса на роторы и уплотнение вала. Другой предохранительный клапан обеспечивает постоянное давление в маслонасосе.
Компрессор также оборудован реле уровня масла (со смотровым стеклом), которое подает сигнал остановить компрессор, если уровень масла становится слишком малым.
Технические характеристики компрессора SAB 87 с маслоотделителем типа OHU 4123D
| Тип компрессора | Хладагент | Система охлаждения масла * |
Рама | Ширина С |
Ширина D |
Длина Е |
Высота F |
Макс. вес, нетто** |
|
| А | В | ||||||||
| мм | мм | мм | мм | мм | мм | кг | |||
| SAB 87 | R717, R22, R134a, R404/R507, R407C |
OWSG OOSI | 3036 | 1070 | 1370 | 1765 | 3731 | 2036 | 4900 |
* - OWSG = Теплообменник, вода со стороны трубопровода
OOSI = Теплообменник, хладагент со стороны кожуха
** - Исключая двигатель, масло, воду и хладагент.
Технические характеристики компрессора
| Тип компрессора | Роторный привод | Объемное отношение | Диаметр ротора | L/D | Δ р макс, бар |
Рабочий объем | |
| 2950 об./мин. мзчас |
3540 об./мин. мзчас |
||||||
| SAB81 | ведущий | 2,6 и 4,8 |
193 | 1,7 | 25,6 | 961 | 1153 |
| SAB83 | ведущий | 212 | 1,7 | 25,6 | 1313 | 1576 | |
| SAB85 | ведущий | 237 | 1,7 | 25,6 | 1809 | 2171 | |
| SAB87 | ведущий | 267 | 1,7 | 25,6 | 2604 | 3125 | |
| SAB89 | ведущий | 304 | 1,7 | 25,6 | 3801 | 4561 | |
Вес блока
| Тип компрессора | Вес блока, кг. |
| SAB81 | 875 |
| SAB83 | 1100 |
| SAB85 | 1300 |
| SAB87 | 1735 |
| SAB89 | 2500 |
Другие характеристики
Комбинация выступов ротора 5+7, ведущий роторный привод, вращение по часовой стрелке, радиально-упорный шарикоподшипник (осевой), цилиндрический роликоподшипник (радиальный), саморегулировка объемного отношения 2,6 и 4,8, максимально допустимое давление всасывания: 10 бар абс, встроенный всасывающий фильтр: 60 µ.
Список запасных частей для SAB 87
| 0662-831 rev. 00.06 | |||
| List of parts for SAB 87 | |||
| Relevant drawing document: 0662-830 | |||
| Pos.nr | Designation | No. | Part no. |
| 2 | Rotor housing, unclassified | 1 | 3011-030 |
| 4 | Bearing housing unclassified | 1 | 3013-240 |
| 5 | Dowel pin | 2 | 2122-027 |
| 7 | Pair of rotors, unclassified | 1 | 3024-129 |
| 8 | Gasket | 1 | 2353-191 |
| 10 | Distance washer | 1 | 3049-050 |
| 11 | Radial bearing 2320 | 1 | 1513-053 |
| 12 | Radial bearing 2319 | 1 | 1513-054 |
| 13 | Radial bearing 2316 | 2 | 1513-055 |
| 14 | Thrust bearing 7318 | 3 | 1513-056 |
| 15 | Thrust bearing 7317 | 2 | 1513-057 |
| 16 | Nut M85x2 | 1 | 1514-021 |
| 18 | Shaft seal | 1 | 1332-033 |
| 19 | Snap Ring | 1 | 3026-045 |
| 20 | Spacer sleeve | 1 | 3049-048 |
| 21 | Spacer sleeve | 1 | 3049-049 |
| 23 | Bearing cover | 1 | 1906420-1 |
| 24 | Gasket | 1 | 2353-192 |
| 25 | Seat holder | 1 | 3026-042 |
| 26 | Oil collector | 1 | 3026-043 |
| 27 | Gasket | 1 | 2353-193 |
| 29 | Pipe | 1 | 3026-044 |
| 32 | Adjusting screw | 3 | 3049-051 |
| 33 | Protecting washer | 1 | 3049-052 |
| 34 | Shims | 1 | 2212-139 |
| 36 | Balancing piston | 1 | 3025-044 |
| 38 | Cover | 1 | 3013-242 |
| 39 | Slide valve | 1 | 3049-057 |
| 40 | Slide valve | 1 | 3049-082 |
| 41 | Guide block | 1 | 3049-053 |
| 42 | Cover-Slide valve | 1 | 3013-243 |
| 43 | Holder | 1 | 3049-054 |
| 44 | Magnet | 2 | 3043-196 |
| 45 | Cover-Bearing housing | 1 | 3013-224 |
| 46 | Dowel pin | 2 | 3049-055 |
| 47 | Cylinder | 1 | 3043-185 |
| 48 | Cylinder head | 1 | 3013-245 |
| 49 | Hydraulic piston | 1 | 3043-186 |
| 1) only for high pressure compressor | |||
| 2) only for booster compressor | |||
| 3) compressor with economiser | |||
| 4) compressor without economiser |
| Pos.nr | Designation | No. | Part no. | |
| 50 | Piston rod | 1 | 3043-188 | |
| 51 | Probe | 1 | 3045-068 | |
| 52 | Spring housing | 1 | 1906447-A | |
| 53 | Gland | 1 | 3043-192 | |
| 54 | Washer | 1 | 3043-193 | |
| 55 | Unloading spring | 1 | 3043-194 | |
| 56 | Support ring | 1 | 2353-199 | |
| 57 | Vi-piston | 1 | 3044-075 | 6) |
| 58 | Vi-cylinder | 1 | 3044-076 | 5) |
| 59 | Cover, Vi-cylinder | 1 | 3013-249 | 5) |
| 60 | Gasket | 1 | 2353-194 | |
| 61 | Hydraulic piston | 1 | 3044-077 | 5) |
| 62 | Piston rod | 1 | 3044-078 | 5) |
| 63 | Indicator | 1 | 3044-079 | 5) |
| 64 | Dowel pin | 1 | 3044-080 | 5) |
| 66 | Support ring | 1 | 2353-200 | 5) |
| 67 | Pilot valve | 1 | 1372-208 | 5) |
| 68 | Cover | 1 | 3013-250 | 5) |
| 69 | Gasket | 1 | 2353-195 | |
| 70 | Control piston | 1 | 3044-081 | 5) |
| 71 | Spring | 1 | 3044-083 | 5) |
| 72 | Blind cover | 1 | 3013-257 | 7) |
| 75 | Suction filter | 1 | 3042-115 | |
| 76 | Gasket | 2 | 2353-196 | |
| 77 | Filter holder | 1 | 3042-116 | |
| 78 | Suction filter cover | 1 | 3013-251 | |
| 79 | Guide | 1 | 3042-117 | |
| 81 | Blind cover | 1 | 3013-258 | 7) |
| 82 | Distance ring | 1 | 2124-096 | 8) |
| 84 | Cover | 1 | 3013-252 | |
| 85 | Cover | 1 | 3013-253 | |
| 86 | Cover | 1 | 3013-254 | |
| 87 | Cover | 1 | 3013-255 | |
| 88 | Gasket | 1 | 2353-197 | |
| 89 | Orifice plug Ø8.0 | 2 | 3044-082 | |
| 95 | Oil pump | 1 | 1524-221 | |
| 96 | Gasket | 1 | 2353-198 | |
| 97 | Oil pump holder | 1 | 3041-013 | |
| 99 | Reducing piston | 1 | 3041-014 | |
| 109 | Stop valve | 2 | 1374-011 | |
| 110 | Stop valve | 2 | 1374-012 |
| 5) Only for compressors with variable Vi | ||||
| 6) Only for compressors with variable Vi or fixed Vi =4.8 | ||||
| 7) Only for compressors with fixed Vi =2.6 or 4.8 | ||||
| 8) Only for compressors with fixed Vi =4.8 |
| Pos.nr | Designation | No. | Part no. | |
| 112 | Compressor sign | 1 | 2516-301 | |
| 114 | Warning sign | 1 | 2516-302 | |
| 115 | Stal sign | 1 | 2516-303 | |
| 116 | Drive screw | 8 | 1414-200 | |
| 120 | Blind flange DN 25 | 1 | 1344-302 | |
| 123 | Blind flange DN 65 | 2 | 1344-303 | |
| 124 | Gasket 43/57x2 | 1 | 2356-065 | |
| 127 | Gasket 95/109x2 | 2 | 2356-222 | |
| 128 | Spiral pin 3x10 | 2 | 1446-037 | |
| 130 | Spiral pin 6x16 | 2 | 1446-038 | |
| 131 | Parallel pin CPK 10x35 | 2 | 1445-082 | |
| 132 | Parallel pin 10x30 | 9(7) | 1445-081 | 9) |
| 134 | Parallel pin 10x120 | 1 | 1445-085 | 5) |
| 135 | Parallel pin 10x140 | 1 | 1445-086 | 5) |
| 138 | Tension pin 6x32 | 1 | 1446-039 | |
| 139 | Grooved pin 4x14 | 1 | 1446-041 | |
| 141 | Retaining ring SgH 40 | 1 | 1437-150 | 5) |
| 142 | Retaining ring SgH 70 | 1 | 1437-159 | |
| 143 | Retaining ring SgH 110 | 1 | 1437-169 | |
| 145 | Retaining ring SgA 80 | 1 | 1437-230 | 1) |
| 146 | Retaining ring SgA 100 | 1 | 1437-244 | |
| 148 | Disc spring | 4 | 3921 9512357 | 8) |
| 149 | Disc spring | 2 | 1523-039 | |
| 150 | Disc spring | 8 | 1523-048 | |
| 151 | Disc spring | 1 | 1523-052 | |
| 152 | Pressure spring | 1 | 1523-053 | |
| 153 | Pressure spring | 2 | 1523-037 | |
| 155 | Plug 1/16" | 9(2) | 1343-021 | 9) |
| 156 | Plug 1/8" | 11(10) | 1343-022 | 9) |
| 158 | Plug 3/8" | 16 | 1343-023 | |
| 160 | Plug G1/4" | 2 | 1343-025 | |
| 161 | Plug G1/2" | 6 | 1343-027 | |
| 162 | Plug G3/4" | 9 | 1343-028 | |
| 163 | Plug G1" | 3 | 1343-030 | |
| 165 | Gasket 14/21 | 2 | 2356-320 | |
| 166 | Gasket 21/28 | 6 | 2356-321 | |
| 167 | Gasket 27/33 | 10 | 2356-322 | |
| 168 | Gasket 34/42 | 3 | 2356-323 | |
| 169 | Gasket 34/43x2,5 | 1 | 2356-324 |
| 2) Only for booster compressor | |
| 5) Only for compressors with variable Vi | |
| 8) Only for compressors with fixed Vi =4.8 | |
| 9) No. in ( ) for compressors with fixed Vi |
| Pos.nr | Designation | No. | Part no. | |
| 170 | Slide ring | 1 | 1243-020 | 5) |
| 171 | Slide ring | 1 | 1243-020 | |
| 173 | Sealing ring | 1 | 1332-034 | |
| 174 | Sealing ring | 1 | 1332-037 | 5) |
| 175 | Sealing ring | 1 | 1332-039 | |
| 176 | Sealing ring | 1 | 1332-041 | 5) |
| 177 | Sealing ring | 1 | 1332-042 | |
| 180 | Sight glass | 1 | 1226-029 | |
| 181 | Check valve | 1 | 1364-200 | |
| 182 | Check valve | 1 | 1364-197 | |
| 184 | V-ring | 1 | 1332-036 | |
| 187 | O-ring 10,3x2,4 | 1 | 1331-343 | |
| 188 | O-ring 15,3x2,4 | 3 | 1331-344 | |
| 191 | O-ring 19,2x3 | 1 | 1331-345 | |
| 192 | O-ring 24,2x3 | 1 | 1331-346 | 5) |
| 193 | O-ring 29,2x3 | 1 | 1331-347 | 5) |
| 194 | O-ring 39,2x3 | 1 | 1331-348 | 5) |
| 195 | O-ring 44,2x3 | 2 | 1331-349 | |
| 196 | O-ring 49,5x3 | 2 | 1331-350 | |
| 197 | O-ring 54,5x3 | 1 | 1331-351 | |
| 199 | O-ring 69,5x3 | 1 | 1331-352 | |
| 200 | O-ring 79,5x3 | 1 | 1331-353 | |
| 203 | O-ring 109,5x3 | 2 | 1331-354 | |
| 204 | O-ring 114,5x3 | 1 | 1331-355 | |
| 205 | O-ring 124,5x3 | 1 | 1331-357 | |
| 206 | O-ring 129,5x3 | 1 | 1331-358 | |
| 207 | O-ring 49,2x5,7 | 2(1) | 1331-359 | 9) |
| 208 | O-ring 149,3x5,7 | 1 | 1331-360 | |
| 209 | O-ring 159,3x5,7 | 2 | 1331-361 | |
| 210 | O-ring 184,3x5,7 | 2 | 1331-362 | |
| 211 | O-ring 279,3x5,7 | 1 | 1331-363 | |
| 214 | Hexagon screw M 12x35 | 4 | 3921 2120538 | |
| 216 | Hexagon screw M 16x45 | 32 | 1413-433 | |
| 223 | Grub screw 6x16 | 2 | 1413-231 | |
| 228 | Hex. socket screw 5x30 | 4 | 1413-035 | |
| 230 | Hex. socket screw 6x16 | 6 | 1413-340 | |
| 231 | Hex.socket screw 10x25 | 4 | 1413-371 | |
| 232 | Hex. socket screw 10x25 | 15 | 1413-371 | |
| 233 | Hex.socket screw 10x30 | 9(7) | 1413-372 | 9) |
| 5) Only for compressors with variable Vi | |
| 9) No. in ( ) for compressors with fixed Vi |
| Pos.nr | Designation | No. | Part no. | |
| 234 | Hex. socket screw 10x35 | 23 | 1413-373 | |
| 235 | Hex. socket screw 10x40 | 10 | 1413-374 | |
| 236 | Hex. socket screw 10x45 | 2 | 1413-375 | |
| 238 | Hex. socket screw 10x90 | 5 | 1413-380 | |
| 239 | Hex. socket screw 10x110 | 3 | 1413-393 | 5) |
| 241 | Hex. socket screw 12x30 | 17 | 1413-386 | |
| 242 | Hex. socket screw 12x35 | 4 | 1413-387 | |
| 243 | Hex. socket screw 12x50 | 8 | 1413-390 | |
| 244 | Hex. socket screw 12x65 | 24 | 1413-401 | |
| 249 | Hex. socket screw 16x55 | 32 | 1413-036 | |
| 256 | Nipple | 2 | 1343-023 | |
| 258 | Nipple | 1 | 1349-230 | |
| 270 | Protecting cover | 1 | 1246-059 | |
| 275 | Solenoid valve | 1 | 1372-216 | |
| 276 | Orifice plug 02.0 | 1 | 1371-038 | |
| 277 | Orifice plug 02.5 | 1 | 1371-039 | |
| 280 | Position transmitter | 1 | 1553-220 |
| 5) Only for compressors with variable Vi |
| 9) No. In ( ) for compressors with fixed Vi |
| Large tool set for SAB 87 compressors |
| The tools specified below are needed for major overhauls and repairs (e.g. service after 40 000 operating |
| hours or changing bearings). These tools named the large tool set must be supplemented with the so- |
| called small tool set article no. 3083.189. See Document no. 0662-804 |
| List of tools in the tool set 1906 147-A |
| Item | Designation | quantity | Article no. |
| 1 | Tool box | 1 | 1906 147-1 |
| 2 | Sleeve for bearing nut .screw | 1 | 1906380-A |
| 3 | Sleeve for bearing nut, slide | 1 | 1906481-A |
| 4 | Yoke | 1 | 1906490-1 |
| 5 | Level arm | 1 | 1906491-1 |
| 6 | Holder | 2 | 1906454-A |
| 7 | Holder | 1 | 1906455-A |
| 8 | Holder | 1 | 1906456-A |
| 9 | Tie rod | 2 | 1906 136-1 |
| 10 | Tie rod | 1 | 1906 137-1 |
| 12 | Dismounting tool for radial bearing | 1 | 1906075-1 |
| 13 | Dismounting tool for radial bearing | 1 | 1906094-1 |
| 14 | Dismounting tool for radial bearing | 1 | 1906095-1 |
| 15 | Sleeve | 1 | 1906098-1 |
| 16 | Assembling tool for bearing | 1 | 1906484-1 |
| 17 | Washer | 1 | 1906485-1 |
| 18 | Adapter | 1 | 1906486-1 |
| 20 | Guide | 1 | 1906488-1 |
| 21 | Guide | 1 | 1906489-1 |
| 22 | Level arm | 1 | 1906 138-1 |
| 23 | Guide | 1 | 1906478-1 |
| 24 | Guide | 1 | 1906478-2 |
| 25 | Guide | 1 | 1906478-3 |
| 26 | Guide | 1 | 1906492-1 |
| 32 | Feeler gauge | 1 | 1878747-A |
| 33 | Retaining-ring pliers | 1 | 1906 147-33 |
| 34 | Socket head sleeve | 1 | 1906 147-34 |
| 35 | Socket head sleeve | 1 | 1906 147-35 |
| 36 | Socket head sleeve | 1 | 1906 147-36 |
| 37 | Socket head sleeve | 1 | 1906 147-37 |
| 38 | Adapter | 1 | 1906 147-38 |
| 40 | Hexagon socket screw key | 1 | 1906 147-40 |
| 41 | Ratched-ring key | 1 | 1906 147-41 |
| 42 | Flange nut | 2 | 1906 144-42 |
| 43 | Flange nut | 1 | 1906 147-43 |
| 45 | Thrust bearing | 1 | 1906 147-45 |
| 47 | Lifting eye | 1 | 39 218 333 534 |
| 48 | Lifting eye | 1 | 39 218 333 670 |
| 50 | Screw | 4 | 39212120532 |
| 51 | Hexagon screw | 1 | 1906 147-51 |
| 52 | Hexagon screw | 1 | 1906 147-52 |
| 55 | Grub screw | 1 | 1906 147-55 |
| 60 | Guide | 2 | 1905777-1 |
| Small tool set for SAB 81- 83 - 85 - 87 - 89 compressors |
| This tool set contains the tools needed to align the electric motor, to replace a shaft seal, to replace a |
| visual indicator seal and to replace a coupling. Each compressor should be provided with this tool set. |
| For major overhaul work (replacing bearings e.g.), this tool set must be supplemented with the large tool |
| set - see doc.no. 0662-803 (SAB 81), 0662-813 (SAB 83) , 0662-823 (SAB 85) , 0662-833 (SAB 87) or |
| 0662-843 (SAB 89). |
| List of tools in the tool set 3083.189 |
| Item | Designation | quantity | Article no. |
| 1 | Tool box | 1 | 1906139-1 |
| 2 | Alignment device for coupling | 1 | 3183.105 |
| 3 | Feeler gauge (incl. In 3183.105) | 2 | 1622.050 |
| 4 | Level arm | 1 | 1906 152-1 |
| 5 | Puller screw | 2 | 1906 153-1 |
| 6 | Guiding pin | 2 | 1906 154-1 |
| 7 | Dismantling tool | 1 | 1906 155-1 |
| 8 | Puller screw | 2 | 1905 156-1 |
| 9 | Guide | 1 | 1906 157-A |
| 15 | Screw M 14x40 | 2 | 1906 140-15 |
| 16 | NutM12 | 2 | 1906 140-16 |
| 17 | NutM6 | 2 | 1906 140-17 |
| 18 | Hexagon key 4 mm | 1 | 1906 140-18 |
| 19 | Hexagon key 5 mm | 1 | 1906 140-19 |
| 20 | Hexagon key 12 mm | 1 | 1906 140-20 |
| 21 | Socket-head sleeve 6 mm | 2 | 1906 140-21 |
| 22 | Socket-head sleeve 8 mm | 1 | 1906 140-22 |
| 23 | Socket-head sleeve 10 mm | 1 | 1906 140-23 |
| Spare Parts for service on SAB 87 compressor | |||
| The spare parts listed below are needed for the following service jobs. For separate gaskets or | |||
| items -see part list for compressor Document no.0662-831 | |||
| The relevant drawing document: 0662-830 | |||
| Cleaning of suction filter Part no. 3084-719 | No. | Designation | Pos. no. | Remarks | |
| 2 | Gasket | 76 | |||
| 2 | Gasket | 127 | D= 109/95x2 | ||
| 1 | O-ring | 211 | 279,3x5,7 | ||
| Change of seal for visual position indicator Part no. 3084-706 | No. | Designation | Pos. no. | Remarks | |
| 1 | Sealing ring | 173 | |||
| 1 | Sealing ring | 56 | |||
| 1 | O-ring | 191 | 19,2x3 | ||
| 1 | O-ring | 195 | 44,3x3 | ||
| 1 | O-ring | 206 | 129,5x3 | ||
| Change of seal for indication ofVi-piston Part no. 3084-707 | No. | Designation | Pos.no. | Remarks | |
| 1 | Sealing ring | 174 | |||
| 1 | Support ring | 66 | |||
| 1 | O-ring | 193 | 29,2x3 | ||
| 1 | O-ring | 205 | 124.5x3 | ||
| Inspection of rotors Part no. 3084-720 | No. | Designation | Pos. no. | Remarks | |
| 1 | Gasket | 60 | |||
| 2 | Gasket | 76 | |||
| 1 | Gasket | 88 | |||
| 2 | Gasket | 127 | D= 109/95x2 | ||
| 1 | O-ring | 211 | 279.3x5,7 | ||
| Change of oil pump Part no. 3084-717 | No. | Designation | Pos. no. | Remarks | |
| 1 | Oil pump | 95 | |||
| 1 | Gasket | 96 | |||
| 2 | Tension pin | 130 | 6x16 | ||
| Change of shaft seal Part no. 3084-716 | No. | Designation | Pos.no. | Remarks | |
| 1 | Shaft seal | 18 | |||
| 1 | O-ring | 203 | 109.5x3 | ||
| 1 | O-ring | 204 | 114.3x3 | ||
| 1 | V-ring | 184 | |||
| 1 | Gasket | 27 | |||
| 1 | Gasket | 167 | |||
| Capacity control | 1 | Complete solenoid valve but without orifices | 1921 438-1 | 240 V/60 Hz | |
| 220 V/50 Hz | |||||
| 1 | 1921 438-2 | 120 V/60 Hz | |||
| 110 V/50 Hz | |||||
| 1 | 1921 438-3 | 24 V/50-60 Hz | |||
| 2 | Coil | 1921 470-1 | 240 V/60 Hz | ||
| 220 V/50 Hz | |||||
| 2 | 1921 470-2 | 120 V/60 Hz | |||
| 110 V/50 Hz | |||||
| 2 | 1921 470-3 | 24 V/50-60 Hz | |||
| 1 | Orifice conn. P | 277 | Ø2,3mm | ||
| 1 | Orifice conn. T | 276 | Ø2,0mm | ||
| 4 | O-ring | 9,25x1,78 | |||
| Change of bearing or complete overhaul Part no. 3084-548 | No. | Designation | Pos.no. | Remarks | |
| 1 | Set of gaskets | 3084-701 | |||
| 1 | Radial bearing | 11 | |||
| 1 | Radial bearing | 12 | |||
| 2 | Radial bearing | 13 | |||
| 3 | Thrust bearing | 14 | |||
| 2 | Thrust bearing | 15 | |||
| 1 | Shaft seal kit | 18 | 3084-716 | ||
| 1 | Shim | 34 | 0.1 | ||









